De display-inkeping was vorig jaar zonder twijfel het belangrijkste kenmerk van smartphones die op de markt werden gebracht. De inkeping, ook wel bekend als de notch, begint nu stapsgewijs plaats te maken voor de volgende hack; de in-screen camera. Met een perforatie in het display wordt de frontcamera nu in het display verwerkt. We zagen dit al in de Samsung Galaxy A8s en ook gaan we dit zien in de Galaxy S10 en S10+. Net als de notch is de in-screen camera een tijdelijke oplossing, om uiteindelijk de camera onder het display te verstoppen. Dat is tenminste het doel, om tot een full-screen smartphone te komen, zonder openingen of
inkepingen. Samsung heeft daar in ieder geval al ideeën voor, zo blijkt uit een recente patentaanvraag van de Zuid-Koreaanse fabrikant.
Samsung’s camera onder display
Samsung heeft op 9 februari 2018 een patent aangevraagd bij het Amerikaanse USPTO met de titel ‘Electronic device’. Vervolgens is het vandaag gepubliceerd in de database van het patentenbureau. Hoewel de titel weinig prijsgeeft, is in de beschrijving en de claims van het patent te lezen dat het om een elektronisch apparaat met een ‘under display sensor’ gaat. In het patent wordt een manier omschreven om een camerasensor onder het display te verwerken, de oplossing waar smartphonemakers naar op zoek zijn. Zoals in het patent te lezen is wordt de camerasensor in een van de onderste lagen van het scherm verwerkt. Op deze manier is de sensor tijdens het maken van een foto, video of videobellen niet zichtbaar. De volgende illustraties laten dit zien:

“As illustrated in FIG. 14, the electronic device 101 according to various example embodiments can include a transparent plate 1401, a 1st film 1403, a 2nd film 1405, a polarization plate 1407, a display 1409, a 1st protection part 1411, a 2nd protection part 1413 and the camera device 1001.”
Plaatsing van de camera
De camera kan op verschillende plekken onder het display geplaatst worden, zoals in de volgende illustratie wordt getoond. Het kan bijvoorbeeld in de rechterbovenhoek geplaatst worden, of centraal in het midden van de smartphone. In het patent wordt de centrale positie het meest besproken.

“As illustrated in FIG. 10A, the camera device 1001 can be arranged at an upper side of the rear surface of the display 160. Or, as illustrated in FIG. 10B, the camera device 1001 can be arranged at the center of the rear surface of the display 160. According to various example embodiments, the sensor such as the camera device 1001 may not be exposed to the 1st surface 410 of the electronic device 101.“
Live selfies
De gebruiker kan zichzelf bekijken tijdens het maken van een selfie of videobellen. Het display blijft dus werken als de camera gebruikt wordt, zoals de volgende illustratie dit laat zien. Bovendien kunnen de ogen van de gebruiker naar het midden van het scherm gedirigeerd worden.

“As illustrated in FIG. 22A and FIG. 22B, in various example embodiments, the camera device 1001 can be arranged at the center of a display 1303. And, at selfie or video telephony, user’s eyes viewing the camera device 1001 can be guided to the center of the display 1303. That is, a user can check a photographed image through the display 1303 while performing the selfie or video telephony. Also, in various example embodiments, at video telephony, the electronic device 101 can provide an effect of making eye contact with a counterpart.”
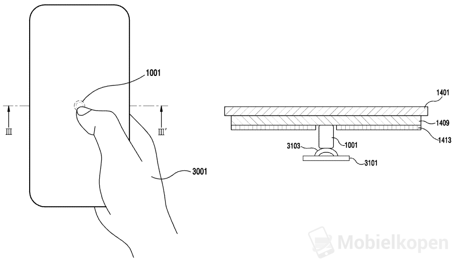
Drukgevoelige camera
Volgens het patent zou de sensor onder het scherm drukgevoelig gemaakt kunnen worden. Hiermee is het dan in feite een vervanger van een fysieke homebutton, zoals deze eerder aan de voorkant geplaatst werd. De camera kan op deze manier gebruikt worden om bepaalde acties uit te voeren.

“As illustrated in FIGS. 32A-32C, in various example embodiments, the electronic device 101 can sense a pressure applied to a central region where the camera device 1001 is arranged. By using this, the electronic device 101 can drive the screen. Accordingly, the electronic device 101 can replace a physical key or home key. For example, as illustrated in FIG. 32A, the electronic device 101 can drive the screen by sensing a touch input going towards an upper end of the display 1409 in an arrow direction together with a pressure applied to the central region. That is, in various example embodiments, the electronic device 101 can combine a pressure touch and a capacitive touch and drive the display 1409. The processor 120 can execute a specific application by using a pressure degree of the pressure touch and a touch direction of the capacitive touch, and can display the execution result on the display 1409.”

Under Panel Sensor (UPS)
Zover we weten is dit het eerste patent van Samsung dat de ‘under panel sensor’-technologie beschrijft. De nieuwe technologie werd oktober 2018 door Samsung Display aangekondigd tijdens het OLED forum. Helaas betekent een enkele patentaanvraag niet dat de technologie op de korte termijn geïntroduceerd wordt. Het is ook geen garantie dat Samsung deze technologie kan of gaat gebruiken voor haar smartphones. Maar het geeft ons wel een idee waar Samsung aan werkt; de begeerde camera onder het display.










